Click or tap image to expand
Maxiband® Heaters
Refine Results
(5 filters)Construction Styles
No options available for this section based on your selections
Heat Only
The channels in the specially designed extruded aluminum track have been precisely sized to accept a .315 diameter tubular heating element, and provide an excellent heat sink for rapid heat transfer and good temperature uniformity. NOTE: See Additional Options for more Construction Options.
Heat Only
The channels in the specially designed extruded aluminum track have been precisely sized to accept a .315 diameter tubular heating element, and provide an excellent heat sink for rapid heat transfer and good temperature uniformity. NOTE: See Additional Options for more Construction Options.
Cool Only
Stainless steel tubing for liquid cooling is placed in the specially designed extruded aluminum track. NOTE: See Additional Options for more Construction Options.
Cool Only
Stainless steel tubing for liquid cooling is placed in the specially designed extruded aluminum track. NOTE: See Additional Options for more Construction Options.
Heat and Cool
The channels in the specially designed extruded aluminum track have been precisely sized to accept a .315 diameter tubular heating element and provide an excellent heat sink for rapid heat transfer and good temperature uniformity. Stainless steel tubing for liquid cooling is placed in the additional channels of the aluminum track next to the tubular heater. The overall low mass construction and high thermal conductivity of the aluminum provides extremely uniform surface temperatures and rapid cooling cycles. NOTE: See Additional Options for more Construction Options.
Heat and Cool
The channels in the specially designed extruded aluminum track have been precisely sized to accept a .315 diameter tubular heating element and provide an excellent heat sink for rapid heat transfer and good temperature uniformity. Stainless steel tubing for liquid cooling is placed in the additional channels of the aluminum track next to the tubular heater. The overall low mass construction and high thermal conductivity of the aluminum provides extremely uniform surface temperatures and rapid cooling cycles. NOTE: See Additional Options for more Construction Options.
Clamping Options
No options available for this section based on your selections
Straps with Clamping Brackets
The clamping strap is made from a Low Thermal Expansion Alloy. It hinges at the terminal end to allow for easy installation. Specially designed mounting brackets with 1/4″-20 socket cap screws, located 180° from the terminal end, provide the clamping force required to tightly draw the heater assembly to the cylinder being heated. NOTE: See Additional Options for Clamping Variations.
Straps with Clamping Brackets
The clamping strap is made from a Low Thermal Expansion Alloy. It hinges at the terminal end to allow for easy installation. Specially designed mounting brackets with 1/4″-20 socket cap screws, located 180° from the terminal end, provide the clamping force required to tightly draw the heater assembly to the cylinder being heated. NOTE: See Additional Options for Clamping Variations.
Electrical Terminations
No options available for this section based on your selections
No Electrical Termination(s)
Electrical Terminations are not required in a Cool Only Maxiband. If you want to add an Electrical Termination please change your Construction Style selection to Heat and Cool or Heat Only.
No Electrical Termination(s)
Electrical Terminations are not required in a Cool Only Maxiband. If you want to add an Electrical Termination please change your Construction Style selection to Heat and Cool or Heat Only.
Type S: Terminal Lugs
Terminal Lugs with 10-32 binding head screws.
Type W3: Wire Braid Leads
Stainless Steel Wire Braid provides strength and protection to the lead wire’s insulation and offers sharp bending not possible with armor cable. The standard leads are 20″ of wire braid over 24″ of flexible leads.
Type W3: Wire Braid Leads
Stainless Steel Wire Braid provides strength and protection to the lead wire’s insulation and offers sharp bending not possible with armor cable. The standard leads are 20″ of wire braid over 24″ of flexible leads.
Type R1: Armor Cable
Armor Cable provides excellent protection against abrasion and contaminants. The cable exits through an adapter that encapsulates both elements’ ends on each half. The adapter tube is tack welded to the heating element and the cable is crimped to the adapter for maximum security and seal protection. The standard leads are 20″ of cable over 24″ of flexible leads.
Type R1: Armor Cable
Armor Cable provides excellent protection against abrasion and contaminants. The cable exits through an adapter that encapsulates both elements’ ends on each half. The adapter tube is tack welded to the heating element and the cable is crimped to the adapter for maximum security and seal protection. The standard leads are 20″ of cable over 24″ of flexible leads.
Type R1A – Galvanized Armor Cable
Type R1B – Stainless Steel Armor Cable
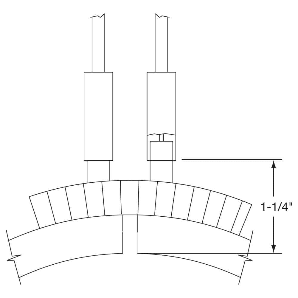
Type TS: Leads with Contamination Seal
Teflon® shrinkdown sleeving provides a good moisture and contamination seal. The sleeving is shrunk down on the element ends and is about 3-1/2″ long. The maximum temperature allowed at the Teflon® seal sleeve is 500°F (260°C). The standard flexible leads are 24″ in length.
Type TS: Leads with Contamination Seal
Teflon® shrinkdown sleeving provides a good moisture and contamination seal. The sleeving is shrunk down on the element ends and is about 3-1/2″ long. The maximum temperature allowed at the Teflon® seal sleeve is 500°F (260°C). The standard flexible leads are 24″ in length.
Type EP: Explosion and Moisture Resistant Box
Maxiband heaters can be made with an explosion/moisture resistant box brazed on to the heater.
Type EP: Explosion and Moisture Resistant Box
Maxiband heaters can be made with an explosion/moisture resistant box brazed on to the heater.
Type C3: General Purpose Terminal Box
Terminal Boxes provide a simple and economical way to eliminate all live exposed terminals and electrical wiring that can be a potential hazard. The boxes have a 1/2″ trade size knockout (actual diameter 7/8″) for standard connectors. The standard termination is Type S, Terminal Lugs. Heaters can be factory prewired with high temperature lead wire, armor cable or stainless steel wire braid.
Type C3: General Purpose Terminal Box
Terminal Boxes provide a simple and economical way to eliminate all live exposed terminals and electrical wiring that can be a potential hazard. The boxes have a 1/2″ trade size knockout (actual diameter 7/8″) for standard connectors. The standard termination is Type S, Terminal Lugs. Heaters can be factory prewired with high temperature lead wire, armor cable or stainless steel wire braid.
Type C3A – Standard box only
Type C3B – w/galvanized armor
Type C3C – w/stainless steel armor
Type C3D – w/wire braid
| Band Width | “X” |
|---|---|
| 1-1/2″ | 1-7/8″ |
| 2-1/2″ | 2-7/8″ |
| 3″ | 3-3/8″ |
| 4″ | 4-3/8″ |
Scroll for more
Type P2: Quick Disconnect High Temperature Plug
Quick Disconnect Plug assemblies are highly recommended to provide the simplest and safest way to apply power to band heater installations.
Plug Electrical Ratings
2-Pole 3-Wire Grounding
Maximum Amps: 16
Maximum Volts: 250 VAC
Maximum Temperature: 572°F (300°C)
Type P2: Quick Disconnect High Temperature Plug
Quick Disconnect Plug assemblies are highly recommended to provide the simplest and safest way to apply power to band heater installations.
Plug Electrical Ratings
2-Pole 3-Wire Grounding
Maximum Amps: 16
Maximum Volts: 250 VAC
Maximum Temperature: 572°F (300°C)
Type P2A—Box and cup only
Type P2B—w/straight plug
Type P2C—w/str. plug and galvanized cable
Type P2D—w/str. plug and SS cable
Type P2E—w/str. plug and wire braid
| Band Width | “X” |
|---|---|
| 1-1/2″ | 1-7/8″ |
| 2-1/2″ | 2-7/8″ |
| 3″ | 3-3/8″ |
| 4″ | 4-3/8″ |
Scroll for more
Cooling/Flow Tube Fittings
No options available for this section based on your selections
Type FF: Flared Seal Fittings
Brass flared seal fittings are well adapted for low to medium pressure and resistant to mechanical pullout. Available for 3/8″ and 1/2″ diameter tubing with SAE 45° flare.
Type FF: Flared Seal Fittings
Brass flared seal fittings are well adapted for low to medium pressure and resistant to mechanical pullout. Available for 3/8″ and 1/2″ diameter tubing with SAE 45° flare.
Type HS: Hi-Seal Fittings
Hi-seal brass fittings are highly dependable under the most adverse conditions. For reliable and trouble-free service with ease of installation, we strongly recommend hi-seal fittings. Available for 3/8″ and 1/2″ diameter tubing. Male thread is 1/2″ NPT for 1/2″ tube and 3/8″ tube.
Type HS: Hi-Seal Fittings
Hi-seal brass fittings are highly dependable under the most adverse conditions. For reliable and trouble-free service with ease of installation, we strongly recommend hi-seal fittings. Available for 3/8″ and 1/2″ diameter tubing. Male thread is 1/2″ NPT for 1/2″ tube and 3/8″ tube.
Type RA: 90° Copper Elbow
90° copper elbow is brazed to the Cast-In Heater cooling tube extension with additional tube extension for connecting cooling lines with compression and/or flared fittings. Available for 3/8″ and 1/2″ diameter tubing.
Type RA: 90° Copper Elbow
90° copper elbow is brazed to the Cast-In Heater cooling tube extension with additional tube extension for connecting cooling lines with compression and/or flared fittings. Available for 3/8″ and 1/2″ diameter tubing.
Type RT: Cast Brass 90° Threaded Elbow
90° threaded elbow is brazed to the cooling tube extension, providing an easy and quick method for connecting cooling lines. Recommended to be factory installed to assure good braze seals. Available for 3/8″ and 1/2″ NPT internal threads.
Type RT: Cast Brass 90° Threaded Elbow
90° threaded elbow is brazed to the cooling tube extension, providing an easy and quick method for connecting cooling lines. Recommended to be factory installed to assure good braze seals. Available for 3/8″ and 1/2″ NPT internal threads.
Type R3: Straight Threaded Copper Fitting
Straight threaded fitting is brazed to the cooling tube extensions, providing an easy and quick method for connecting cooling lines. Recommended to be factory installed to assure good braze seals. Available for 3/8″ and 1/2″ diameter tubing with internal threads. /
Type R3: Straight Threaded Copper Fitting
Straight threaded fitting is brazed to the cooling tube extensions, providing an easy and quick method for connecting cooling lines. Recommended to be factory installed to assure good braze seals. Available for 3/8″ and 1/2″ diameter tubing with internal threads. /
No Cooling Tube Fittings
Cooling Tube Fittings are not required. If you want to add an Electrical Termination please change your selections above.
No Cooling Tube Fittings
Cooling Tube Fittings are not required. If you want to add an Electrical Termination please change your selections above.
Additional Options
No options available for this section based on your selections
Type EC: Insulated Shroud
Insulated Shroud provides energy savings. Available on all Maxiband widths except 3/4″. The shrouds are a separate component part and fit over the Maxiband heater. Insulated shrouds to cover entire heat zones are available and are made to customer specifications.
Type EC: Insulated Shroud
Insulated Shroud provides energy savings. Available on all Maxiband widths except 3/4″. The shrouds are a separate component part and fit over the Maxiband heater. Insulated shrouds to cover entire heat zones are available and are made to customer specifications.
Type SL: Spring-Loaded Clamping
On Maxiband heaters over 12″ in diameter, the aluminum tracks are in segments for better configuration, and the straps are equipped with two or more Spring-Loaded Clamping Brackets. For excessively large diameters, four tubular heaters will be used, each heating a 90° section of the total diameter. When terminal boxes are required, two boxes will be used.
Type SL: Spring-Loaded Clamping
On Maxiband heaters over 12″ in diameter, the aluminum tracks are in segments for better configuration, and the straps are equipped with two or more Spring-Loaded Clamping Brackets. For excessively large diameters, four tubular heaters will be used, each heating a 90° section of the total diameter. When terminal boxes are required, two boxes will be used.
Type RC: Reverse Construction
Reverse Maxibands lend themselves to heating cylindrical surfaces from the inside out. The specially designed internal brackets exert pressure to both heater halves to assure good contact against the inside diameter of the part being heated. Reverse HLC Maxiband minimum OD is 5-1/2″. Made strictly to customer specifications. Due to size/construction restrictions, some termination styles are not possible.
Type RC: Reverse Construction
Reverse Maxibands lend themselves to heating cylindrical surfaces from the inside out. The specially designed internal brackets exert pressure to both heater halves to assure good contact against the inside diameter of the part being heated. Reverse HLC Maxiband minimum OD is 5-1/2″. Made strictly to customer specifications. Due to size/construction restrictions, some termination styles are not possible.
Partial Coverage
Partial coverage band heaters are normally required when holes and cutouts will not allow the heater to sufficiently clear the machine obstructions. The preferred method of construction is the 2-Piece Maxiband Heater with Built-In Brackets. The heater is screwed down to the cylinder at the ends and the Built-In Brackets pull the heater tightly against the cylinder being heated. It is available with all types of construction and termination variations. When ordering provide the angle of coverage from center to center of the mounting screw holes as shown.
Partial Coverage
Partial coverage band heaters are normally required when holes and cutouts will not allow the heater to sufficiently clear the machine obstructions. The preferred method of construction is the 2-Piece Maxiband Heater with Built-In Brackets. The heater is screwed down to the cylinder at the ends and the Built-In Brackets pull the heater tightly against the cylinder being heated. It is available with all types of construction and termination variations. When ordering provide the angle of coverage from center to center of the mounting screw holes as shown.
Dual Voltage
Maxiband heaters can be designed using series/parallel circuits for dual voltage applications. Whether the heater is run on the higher or lower voltage, the wattage will be the same. Dual Voltage is available on all Maxiband heater widths except 3/4″.
Dual Voltage
Maxiband heaters can be designed using series/parallel circuits for dual voltage applications. Whether the heater is run on the higher or lower voltage, the wattage will be the same. Dual Voltage is available on all Maxiband heater widths except 3/4″.
Ground Terminal or Lead
For those applications requiring a separate ground terminal or lead attached to the heater. A Ground Terminal or Lead is available on any construction or termination variation.
Ground Terminal or Lead
For those applications requiring a separate ground terminal or lead attached to the heater. A Ground Terminal or Lead is available on any construction or termination variation.
Electrical Plugs
Industry standard NEMA twist lock electrical connectors are available. The plugs can be attached to fiberglass leads, armor cable or wire braid. Electrical Plugs can be added to any clamping, construction or termination variation.
Electrical Plugs
Industry standard NEMA twist lock electrical connectors are available. The plugs can be attached to fiberglass leads, armor cable or wire braid. Electrical Plugs can be added to any clamping, construction or termination variation.
Terminal Lugs
Various types of crimp terminals can be attached to the heater leads to make wiring into applications quick and easy. High temperature 1200°F (649°C) ring terminals and nylon or PVC insulated terminals are available. Spade, ring, and right-angle or straight quick disconnect type terminals can be attached to the leads.
Terminal Lugs
Various types of crimp terminals can be attached to the heater leads to make wiring into applications quick and easy. High temperature 1200°F (649°C) ring terminals and nylon or PVC insulated terminals are available. Spade, ring, and right-angle or straight quick disconnect type terminals can be attached to the leads.
Extra Cooling Tube Length
The standard cooling tube length is 4″. Longer lengths can be provided; please specify when ordering.
Extra Cooling Tube Length
The standard cooling tube length is 4″. Longer lengths can be provided; please specify when ordering.
Square or Rectangular
Square or Rectangular heaters, normally used for heating dies on plastic extruders, are made in a two-piece construction for better clamping and to provide good surface contact. Made strictly to customer specifications. When ordering or for quotation purposes, supply a detailed drawing or sample part.
Square or Rectangular
Square or Rectangular heaters, normally used for heating dies on plastic extruders, are made in a two-piece construction for better clamping and to provide good surface contact. Made strictly to customer specifications. When ordering or for quotation purposes, supply a detailed drawing or sample part.